Garázskapu szélessége
Jellemzően a garázs célja, hogy védje a család használatában lévő autót vagy autókat. Továbbá a lakásban nem tárolt dolgoknak és egyéb szerszámoknak, eszközöknek is tároló helyet biztosíthat.
Ezért a helyszíni adottságokon felül érdemes ellenőrizni, hogy az autó milyen széles, és figyelembe venni, hogy a jövőben lecserélhetik az autót, ami elképzelhető, hogy szélesebb lesz a jelenleginél. Manapság forgalomban lévő autók 1,9-2m szélesek. Így a kényelmes beálláshoz 2,5-2,7m szélességet javasolnánk. Amennyiben dupla beállós garázsról beszélünk, ez lehet akár 4,5-5m vagy annál szélesebb kapu is.
Azt sem szabad elfelejteni, hogy ahhoz, hogy a dolgainkat elérjük, az autó mellett közlekedni is szeretnénk a garázskapun. Így, amennyiben a helyszíni adottságok lehetővé teszik a kényelmes használat miatt válasszunk nagyobb garázskaput.
Két beállós garázs esetében felmerül a kérdés, hogy akkor most 1 nagy, vagy 2 kicsi garázsajtót szereltessünk be. Azon felül, hogy a ház megjelenését befolyásolja, anyagi vonzata is más-más a kapuknak. Egy nagy garázsajtó beszerelése költséghatékonyabb lehet abból a szempontból, hogy „csak” egy nagy ajtót kell legyártani, vasalattal ellátni, míg ugye kettő esetében mindenből dupla annyi elemre, alkatrészre van szükség. De a leglényegesebb szempont, hogy a nagy garázskaput csak egy darab automatikával kell ellátni, míg a kettő esetében ugye mindenképp szükséges két automatika felszerelése. Mivel az automatikákhoz több távirányító jár, így az nem lehet befolyásoló tényező, hogy akkor kinél legyen a távirányító.
Garázskapu magassága
A magasság kiválasztásánál a helyszíni adottságokon kívül érdemes figyelembe venni a jelenlegi és akár jövőbeli autónk magasságát és esetlegesen azok tetejére felszerelt eszközök (tetőcsomagtartó, síbox, tetőlécek, kerékpártartók stb.) méretét. Természetesen kényelmesen szeretnénk az új garázskapu ajtaja alatt közlekedni és nem szeretnénk centizve beállni a garázsba vagy csak átjárni alatta.
Szabvány vagy egyedi méretek
Garázskapuk esetében a kínálatban mindig szerepelnek szabvány, standard méretek. Ebben az esetben, a garázskapu paramétereihez illeszkedő nyílásba bármikor behelyezhetőek a kapuk. De mivel a legtöbb esetben eltérőek a házak jellemzői, azokba ezek a kapuk nem illeszthetőek be.
Tehát, a standard mérettől eltérő garázskapukat már nevezhetjük egyedi garázskapunak. Vagyis a saját garázskapu nyílásának méretéhez készítjük el a garázskaput, nem pedig a garázskapuhoz kell elkészíteni a nyílást.
Kínálatunkban attól függően, hogy milyen típusú garázskapu választ 2500-5000mm nyílásszélességben és 2025-2465mm nyílásmagasságban is találhatóak kapuk.
Amennyiben jelenleg még építkezik, érdemes érdeklődni a kiválasztott garázskapu gyártónál, hogy milyen standard méretekkel rendelkeznek, és ahhoz milyen egyéb helyszíni adottságok szükségesek, mert így sokat spórolhatnak, hiszen egy egyedi kapu legyártása valamivel mindig többe kerül.
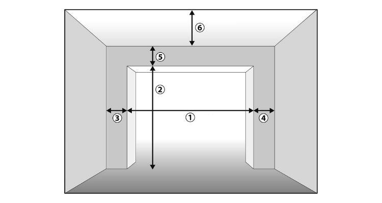
Garázskapu beszerelési paraméterek
Azon túl, hogy meghatározzuk a garázskapu méreteit, figyelembe kell venni, hogy a szekcionált garázskapuk beszereléséhez az oldalsó falakon, mennyezeten mennyi hely áll rendelkezésünkre. Ezek a méretek fogják meghatározni, hogy milyen vasalattal, és automatikával tudják ellátni a szakemberek a garázskaput ahhoz, hogy hibátlanul működjenek.
1. Garázsnyílás szélessége
2. Garázsnyílás magassága
3. Oldalsó falszélesség (min. 100mm)
4. Oldalsó falszélesség (min. 100mm)
5. Áthidaló/szemöldök (nyílás magasság fölötti rész) (min. 150mm)
6. Garázs mélysége
